
Des consommations trompeuses
Les coûts de consommation en carburant d’un chariot élévateur pendant la durée d'un contrat type s’élèvent facilement à des milliers d'euros. Et la facture est plus salée encore si l'utilisation est vraiment intensive.
Les coûts de consommation en carburant d’un chariot élévateur pendant la durée d'un contrat type s’élèvent facilement à des milliers d'euros. Et la facture est plus salée encore si l'utilisation est vraiment intensive. Le prix du carburant ne cessant d'augmenter, même une petite baisse de consommation génèrera de grosses économies – qui seront toujours appréciables.
L’étude a montré une très grande amplitude dans les chiffres de consommation de carburant des différents fabricants, ce qui rend les économies tout à fait tangibles une fois choisi le « bon » chariot.
Quand on cherche à acheter un nouveau chariot élévateur, on ne prend pas forcément en compte les chiffres de la consommation de carburant, d'autant qu’ils sont souvent indiqués en tout petit dans la fiche VDI du fabricant. Si les chiffres ne sont pas bons, le vendeur risque d’oublier de vous en parler. Parfois, la consommation n’est même pas mentionnée.
Nous vous expliquons ici quels sont les éléments à surveiller, comment mesurer votre consommation et comment calculer vos économies potentielles.
En lisant ce qui suit, vous serez sans doute étonné d’apprendre que la différence de consommation entre deux modèles de chariots de marques différentes peut rapidement chiffrer : jusqu’à 12 000 € sur cinq ans!
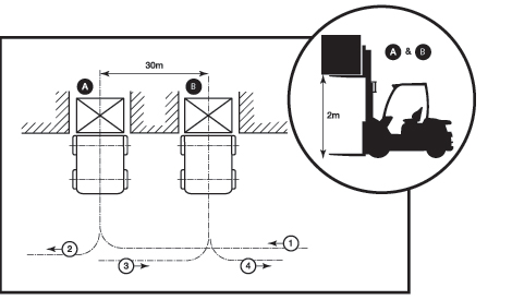
Test de consommation de carburant
Sur une fiche technique de chariot élévateur, le chiffre de consommation est le plus souvent accompagné de la formule « selon cycle VDI 60 ».
Cela signifie que l'engin a effectué un « cycle de travail » basé sur le circuit-test VDI 2198 (voir l’illustration ci-dessous), le cariste ayant pris soin de modérer sa vitesse de façon à ce que le chariot accomplisse ce cycle 60 fois en 60 minutes. La consommation horaire de carburant a alors été mesurée.
VDI est l'acronyme de "Verband Deutscher Ingenieure", l'association allemande des ingénieurs. La norme VDI est la référence en matière de mesure des consommations de carburant pour les chariots élévateurs. Néanmoins, en pratique, la façon dont le chariot est utilisé – et tout particulièrement la façon dont le cariste le conduit – est très éloignée de ces conditions idéales : la consommation réelle est souvent bien plus élevée.
Pendant le test, le chariot élévateur avance vers la position A, lève sa charge jusqu'à 2 mètres, recule et se rend à la position B, à environ 30 mètres, où il lève à nouveau sa charge à une hauteur de 2 mètres avant de reculer jusqu'à sa position initiale.

Cycle de test VDI selon les directives VDI 2198.
Il est clair que ce cycle est plutôt intensif et que, dans la plupart des cas, l’utilisation d’un chariot est bien moins intensive durant une période de travail. Mais telle est la mesure de référence. On peut obtenir une estimation réaliste de la consommation effective en carburant en se basant sur le chiffre VDI 60 de la fiche technique du fabricant et en considérant que le chariot sera en service 60 % du temps, soit en moyenne pendant 4,8 heures.
Voici donc comment calculer vos dépenses globales en carburant:
- Trouvez le chiffre de consommation de carburant sur la fiche technique de votre chariot élévateur
- Multipliez-le par le prix au litre du gasoil ou le prix au kilo du GPL
- Faites une estimation de l'utilisation quotidienne de l'engin en nombre d'heures (par ex. 60 % de 7 heures = 4.2)
- Multipliez cette estimation par le nombre de périodes de travail par an (260 par ex.)
- Multipliez le résultat obtenu par le nombre d'années du contrat (5 ans, par ex.)
Le tableau ci-dessous montre cinq fabricants bien connus de chariots élévateurs (à l'exception de Mitsubishi, leurs noms ont été effacés). Dans chaque cas, nous nous sommes servi de la fiche technique du fabricant pour un modèle GPL de 2,5 tonnes afin d'obtenir le chiffre de consommation de carburant et de le comparer aux autres.
![]() |
Conclusion
Sur la base des fiches techniques, il est clair qu'il y a une grande différence entre la consommation de carburant des différents fabricants. Que ce soit sur des périodes longues ou courtes, quand on l'utilise de façon relativement intensive, un chariot élévateur peut revenir très cher en carburant, et cela doit être un facteur prépondérant dans la décision d'achat.
Sur les cinq ans d'un contrat type, un chariot élévateur frugal peut faire économiser à son propriétaire près de 16 000 € en carburant par rapport à l'engin équivalent le plus gourmand – et ce sur la base des prix actuels des carburants, qui vont sûrement continuer de flamber.
- A retenir :
- Estimez l'intensité de votre utilisation puis calculez vos économies potentielles en appliquant la formule décrite ici et en comparant votre chariot élévateur avec un autre engin moins énergivore.
- Au moment de choisir votre prochain chariot élévateur à moteur thermique, vérifiez la consommation de carburant sur la fiche technique et parlez-en avec le représentant de la marque.
- Demandez au concessionnaire de vous fournir un devis énergétique pour l'utilisation d'un engin électrique équivalent. Vous serez peut-être étonné. (Lisez notre article “Moteur électrique ou moteur thermique à combustion interne : lequel est le plus adapté à votre site ?”)







